Aula Gerión

Asociación para la defensa del Patrimonio Histórico - Sanlúcar de Barrameda (Cádiz)


 

 

 

 

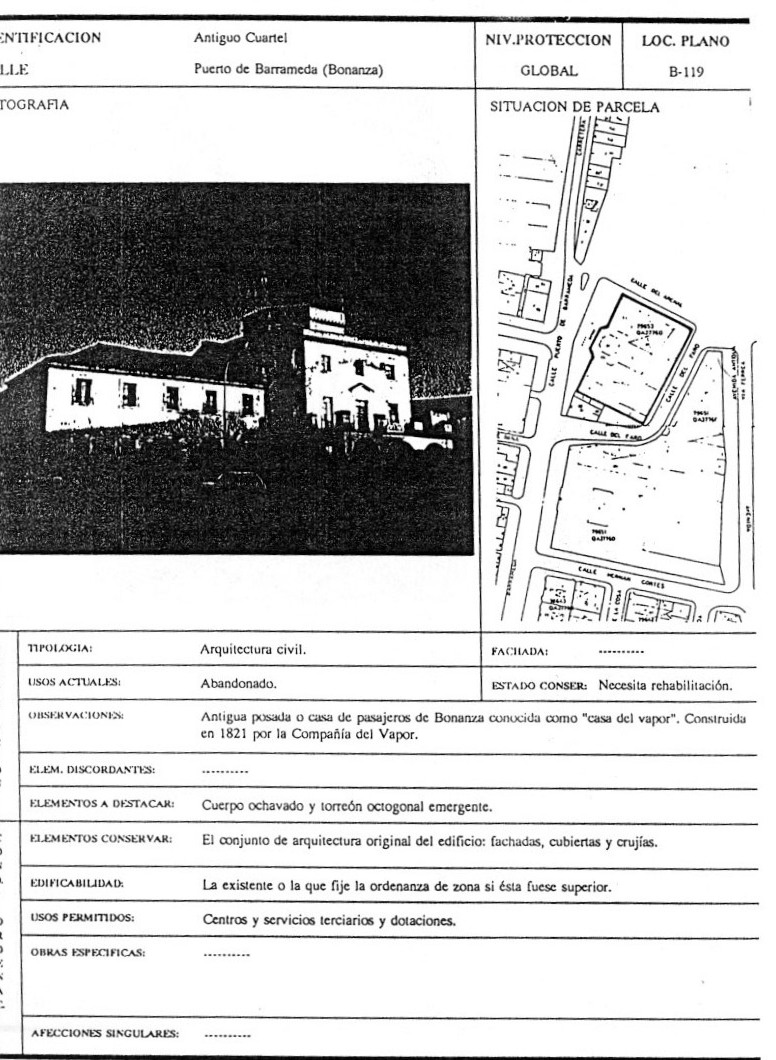
Casa del Vapor (c. 1820)

 

Edificio Protegido (B-119)

Demolido por Urbanismo

 

 

 

 

En mayo de 2004 fue DEMOLIDA por la GERENCIA DE URBANISMO la Casa del Vapor, situada próxima al puerto de Bonanza. Este inmueble estaba PROTEGIDO con el nivel B-119 en el PGOU de Sanlúcar. Es decir, que había que conservar toda su estructura original: “el conjunto de arquitectura original: fachada, cubiertas y crujías”. Sin embargo, la Gerencia, haciendo caso omiso a esta normativa legal, derribó completamente todo el edificio, por haberse desprendido con las lluvias parte de la fachada principal.

Edificada hacia 1820, la Casa del Vapor sirvió de oficina, alojamiento y cochera a la PRIMERA LÍNEA DE BARCOS DE VAPOR DE ESPAÑA inaugurada en 1817 (Sevilla-Sanlúcar-Cádiz) con el antiguo Real Fernando, al que sucedió en 1819 el barco Neptuno. La edificación anexa funcionó durante bastante tiempo como Cuartel de la Guardia Civil. Actualmente, estaba prevista la rehabilitación de la Casa del Vapor y anexos para 20 viviendas sociales de Promoción Pública, según proyecto de la Consejería de Obras Públicas, donde se reservaba el edificio histórico propiamente de la Casa del Vapor como equipamiento vecinal.

De gran importancia histórica y arquitectónica, la Casa del Vapor se distinguía por una una singular doble planta octogonal y era uno de los edificios más emblemáticos de la Arquitectura Civil de Sanlúcar de Barrameda. 

El Aula Gerión demanda que SE PENALICE a los destructores de la Casa del Vapor y que SE RECONSTRUYA según el original y se destine al USO SOCIAL de equipamiento previsto en el PGOU como "Centro de servicios terciarios y dotaciones", así como en el proyecto de rehabilitación de la Junta donde se preveía un "Ayuntamiento de Barrio y Salones de Usos Múltiples".

Comunicado de prensa del Aula Gerión (10/05/2004)

Nota: El Aula Gerión dispone de un video donde aparece captado todo el proceso de demolición.

 

   

   

   

 

- Pinchar para ampliar -

   

 

 

Volver

 

Estadisticas y contadores web gratis
Estadisticas Gratis